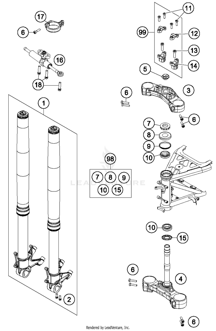
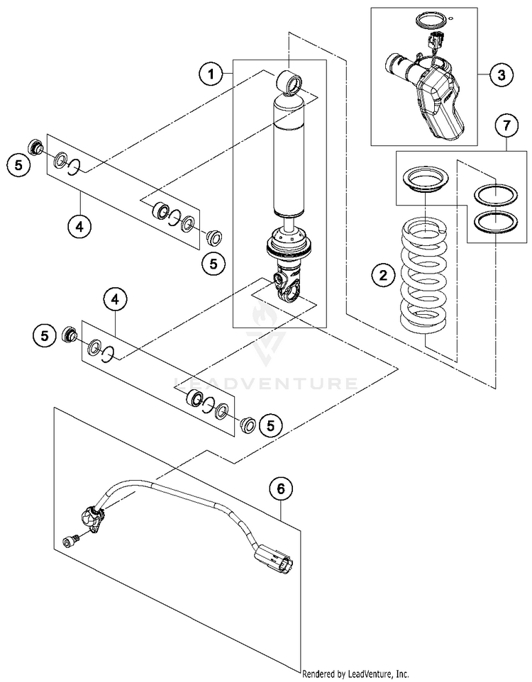
2016 KTM 1190 ADVENTURE GREY Chassis - 2016 Pièces OEM | Recherche schéma d'assemblage Recherche de pièces OEM et inspecteur de diagrammes (Microfiche)
Liste des assemblages (27)
D
Aucun résultat avec le filtre de page appliqué: