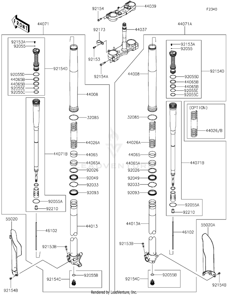
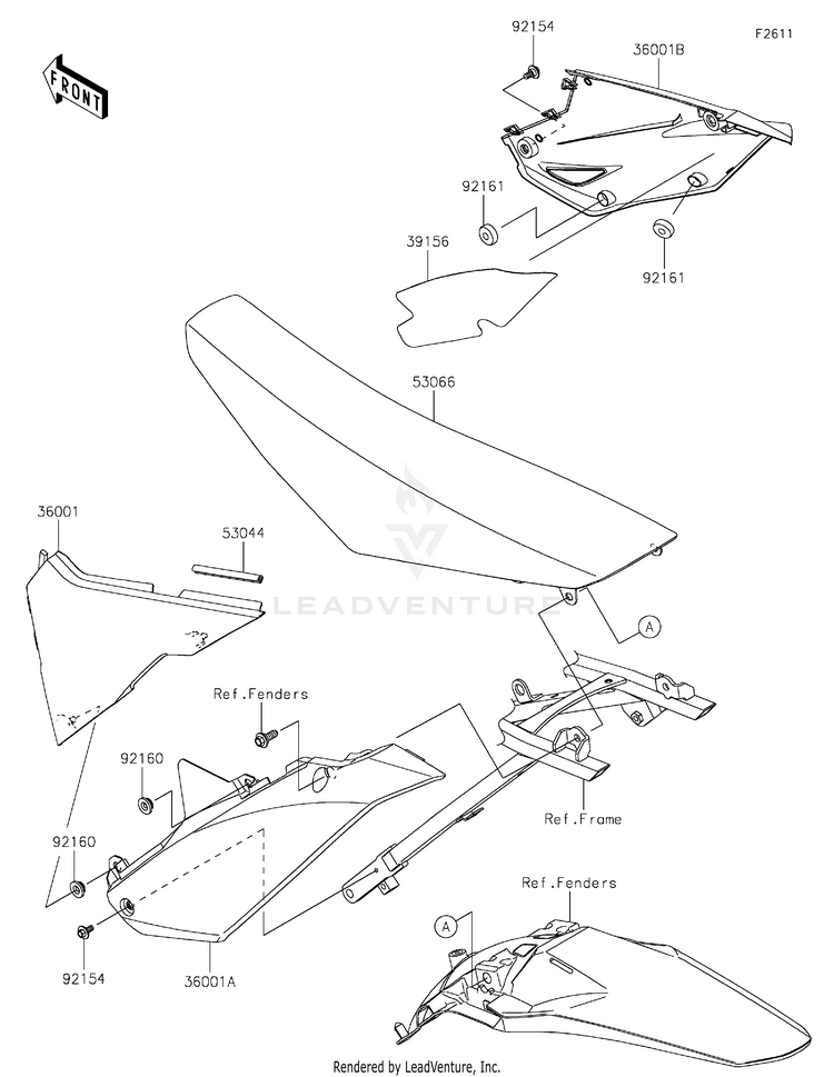
2026 Kawasaki Motorcycle KX250 Pièces OEM | Recherche schéma d'assemblage Recherche de pièces OEM et inspecteur de diagrammes (Microfiche)
Liste des assemblages (55)
C
F
L
Aucun résultat avec le filtre de page appliqué: