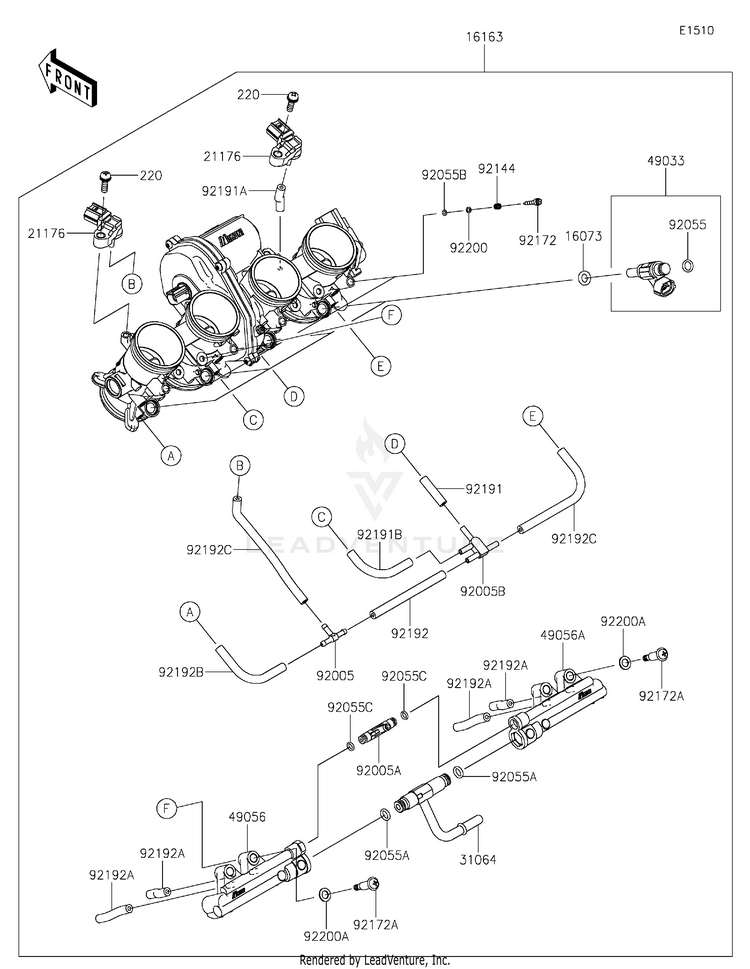
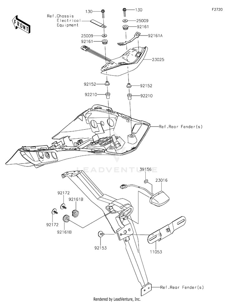
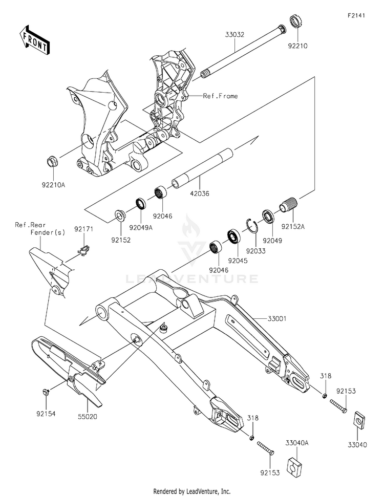
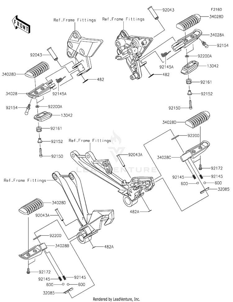
2025 Kawasaki Motorcycle ZX1100 Ninja 1100SX SE - ZX1100JSFAN Pièces OEM | Recherche schéma d'assemblage Recherche de pièces OEM et inspecteur de diagrammes (Microfiche)
Liste des assemblages (76)
A
C
F
L
V
Aucun résultat avec le filtre de page appliqué: