2025 Suzuki GSX-R750Z - GSX-R750ZM5 OEM Parts | Assembly Diagrams Lookup OEM Parts Finder and Diagram (Microfiche) Inspector
Assemblies List (83)
#
B
C
F
FOOTREST
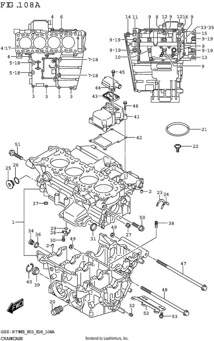
FRAME
FRAME COVER (GSX-R750)
FRAME COVER (GSX-R750Z)
FRONT BRAKE HOSE
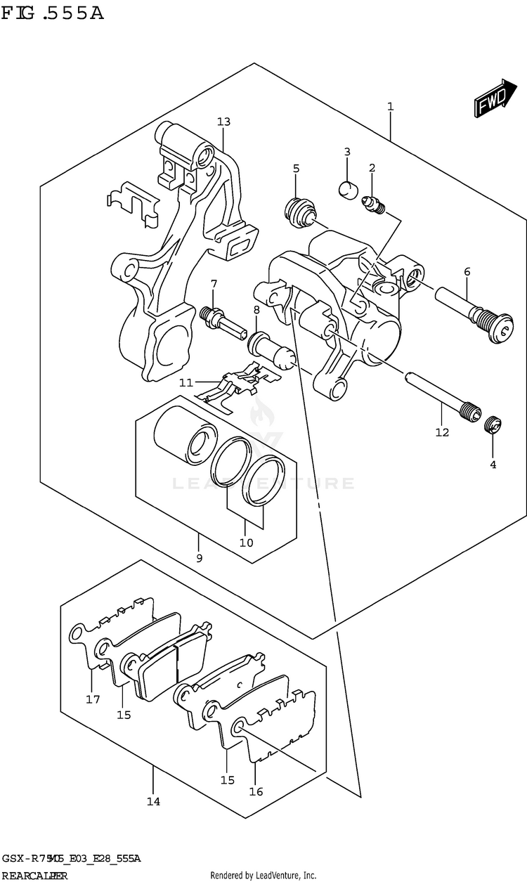
FRONT CALIPER
FRONT FENDER (GSX-R750)
FRONT FENDER (GSX-R750Z)
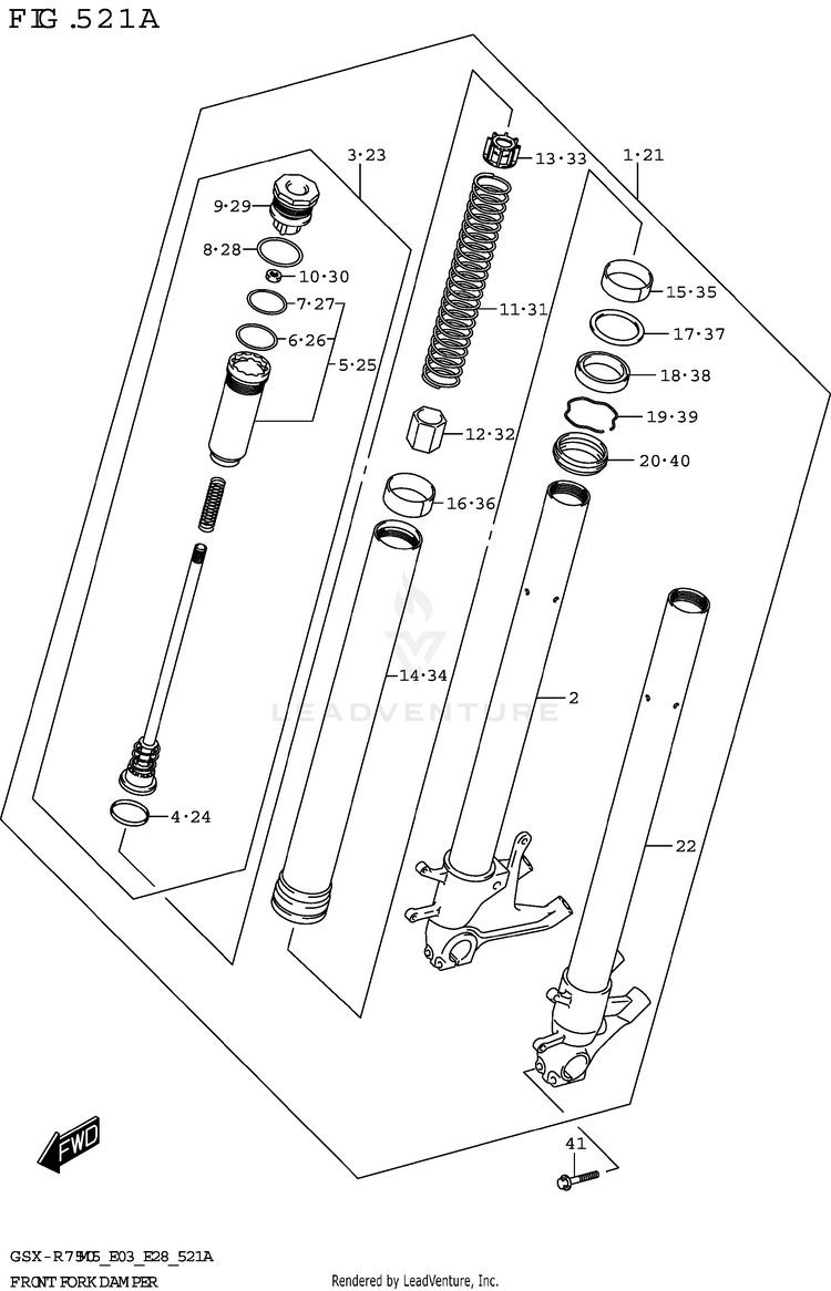
FRONT FORK DAMPER
FRONT MASTER CYLINDER
FRONT WHEEL (GSX-R750)
FRONT WHEEL (GSX-R750Z)
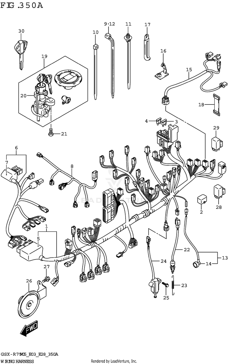
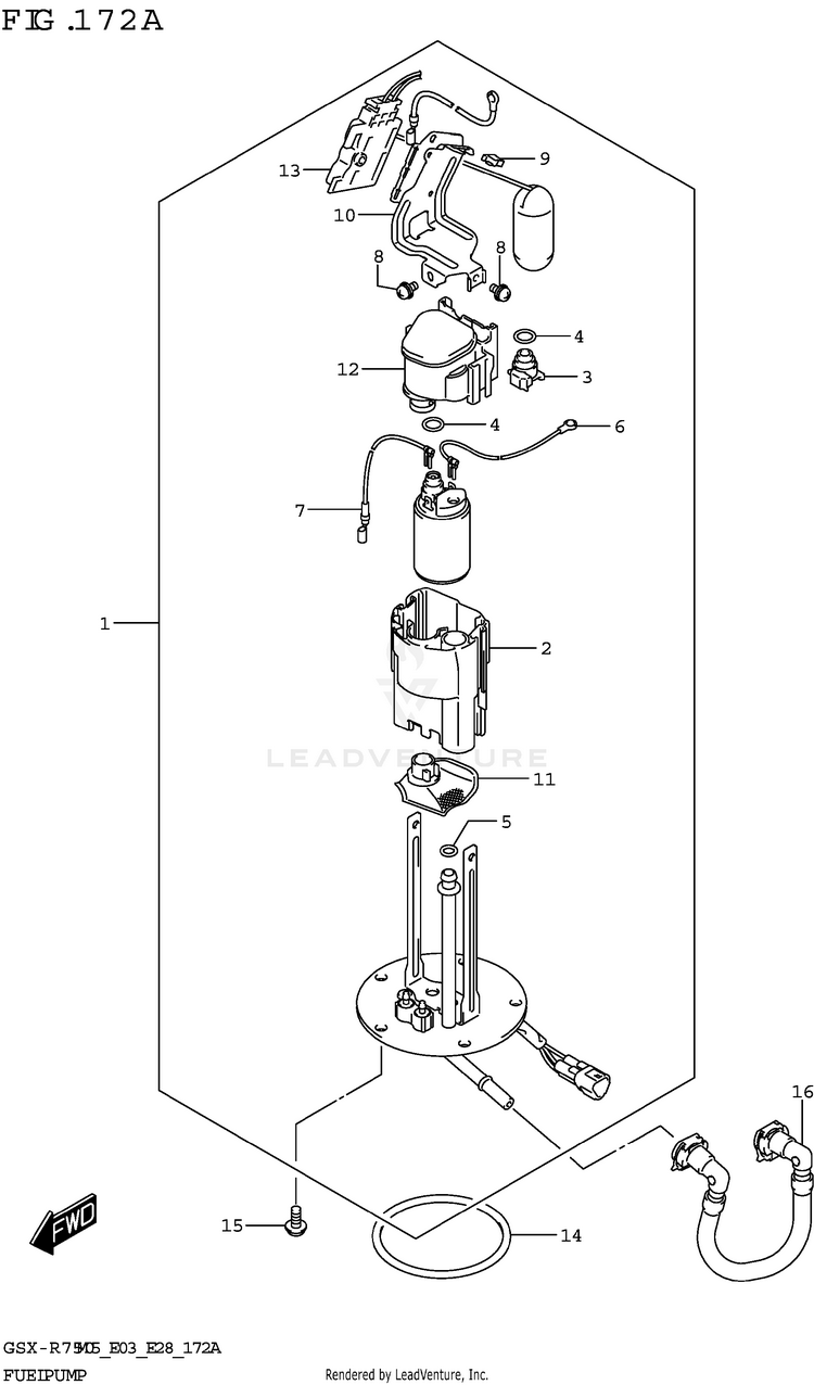
FUEL PUMP
FUEL TANK (GSX-R750:(E03,E28))
FUEL TANK (GSX-R750:E33)
FUEL TANK (GSX-R750Z:(E03,E28))
FUEL TANK (GSX-R750Z:E33)
FUEL TANK COVER (GSX-R750)
FUEL TANK COVER (GSX-R750Z)
M
R
S
T
No results with applied page filter: