2025 Suzuki GSX-R600Z - GSX-R600ZM5 OEM Parts | Assembly Diagrams Lookup OEM Parts Finder and Diagram (Microfiche) Inspector
Assemblies List (82)
#
B
C
F
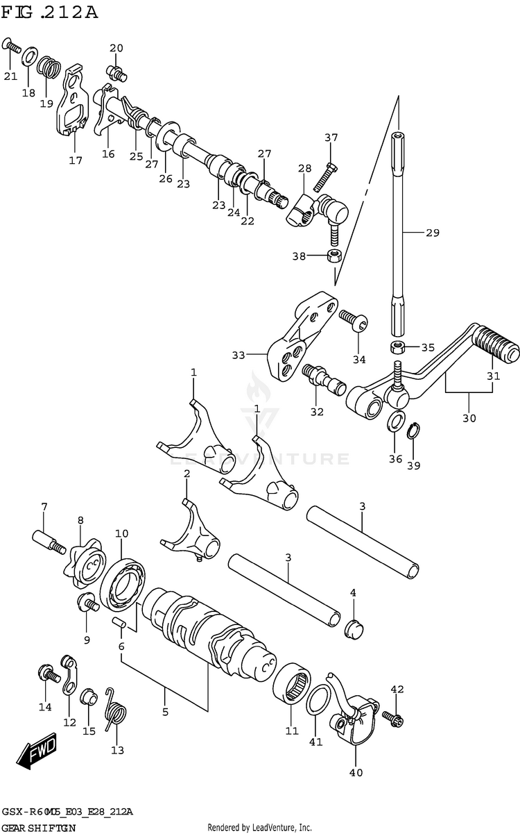
FOOTREST
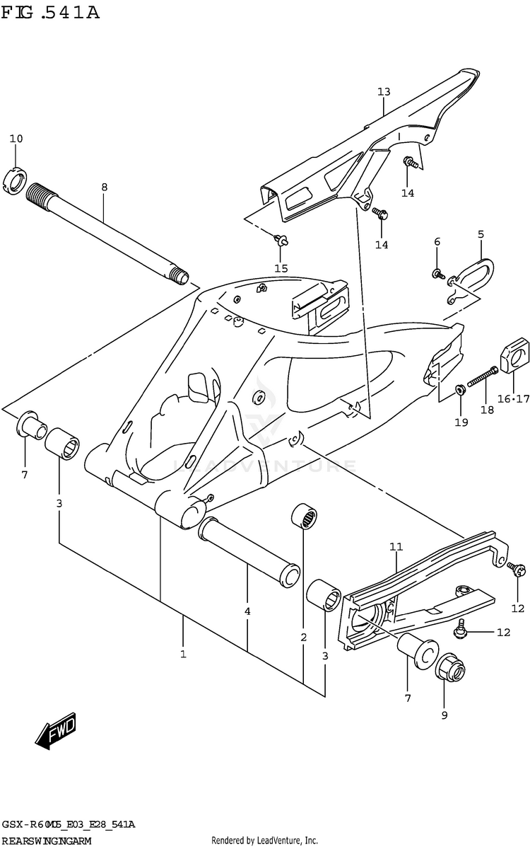
FRAME
FRAME COVER (GSX-R600)
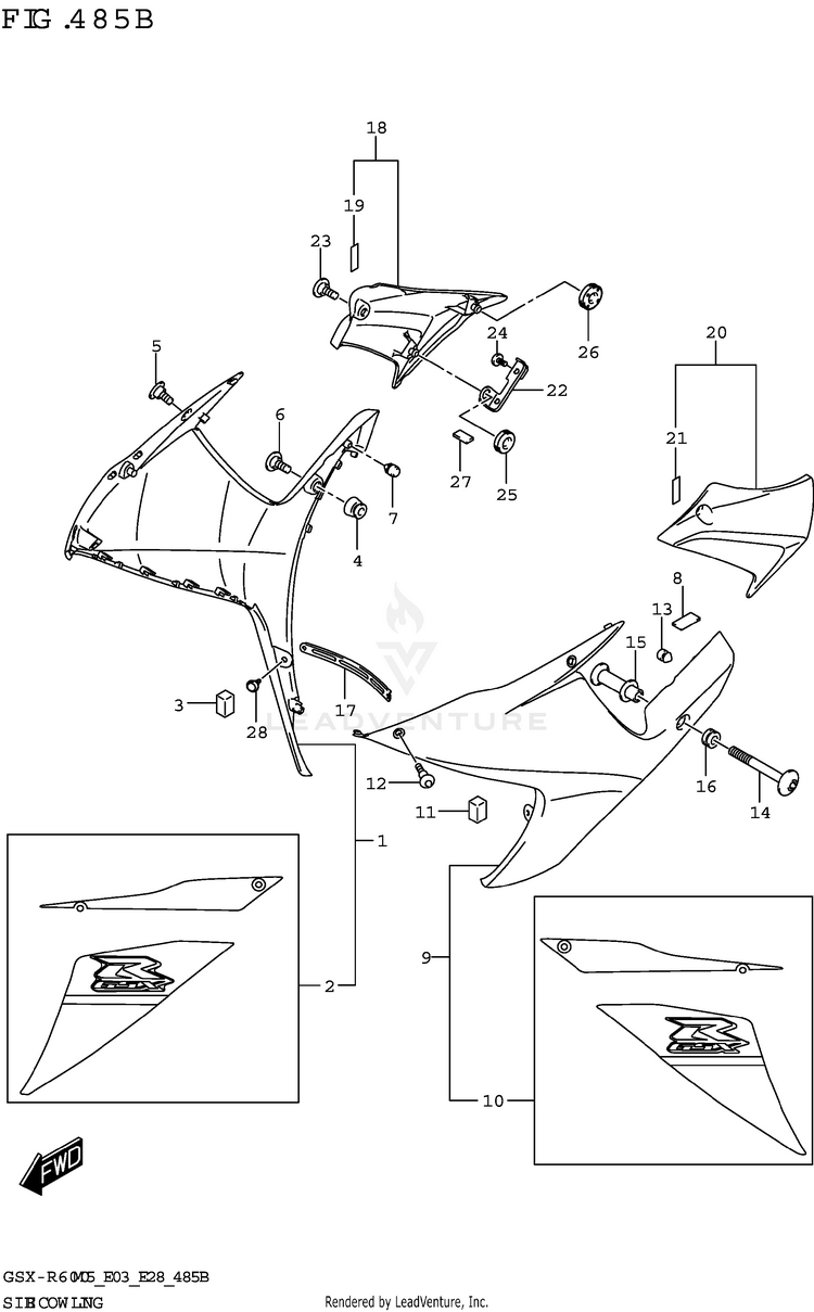
FRAME COVER (GSX-R600Z)
FRONT BRAKE HOSE
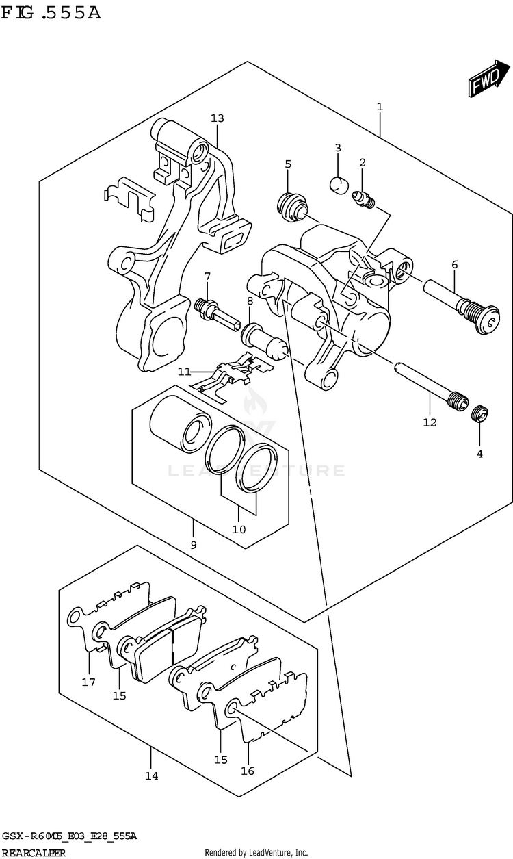
FRONT CALIPER
FRONT FENDER (GSX-R600)
FRONT FENDER (GSX-R600Z)
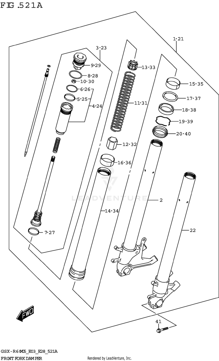
FRONT FORK DAMPER
FRONT MASTER CYLINDER
FRONT WHEEL (GSX-R600)
FRONT WHEEL (GSX-R600Z)
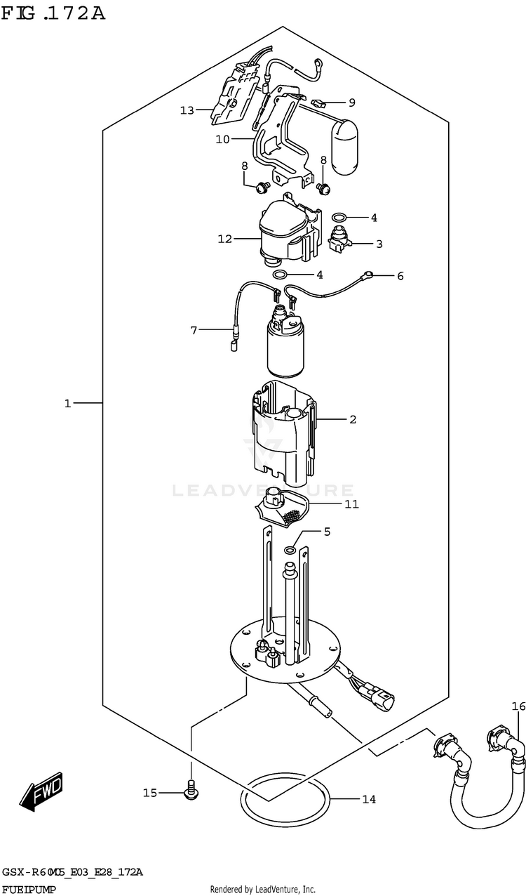
FUEL PUMP
FUEL TANK (GSX-R600:(E03,E28))
FUEL TANK (GSX-R600:E33)
FUEL TANK (GSX-R600Z:(E03,E28))
FUEL TANK (GSX-R600Z:E33)
FUEL TANK COVER (GSX-R600)
FUEL TANK COVER (GSX-R600Z)
M
R
S
T
No results with applied page filter: